概述 YQSH系列潜海水三相异步电动机为充水密封型三相异步电动机,是在引进德国里茨公司技术基础上研发的新产品,主要用于海上平台驱动潜水泵提取海水、有腐蚀的液体介质、也可以在含氯离子较多的水质中使用。电动机的导轴承、止推轴承等重要零部件均采用了新型结构和新材料,在密封和防腐方面都采用了一系列特殊设计,具有机构简单、运行可靠、使用寿命长、维修方便、力能指标高等优点。 型号说明

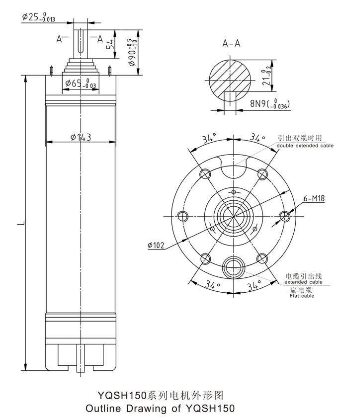
电动机机座号与适用井径对应表
机座号 | 150 | 200 | 250 | 300 | 400 | 井径(mm) | 150 | 200 | 250 | 300 | 400 |
电动机机座号与电动机承受最大向下推力对应表
机座号 | 150 | 200 | 250 | 300 | 400 | 向下推力(KN) | 11 | 18 | 25 | 36 | 36 |
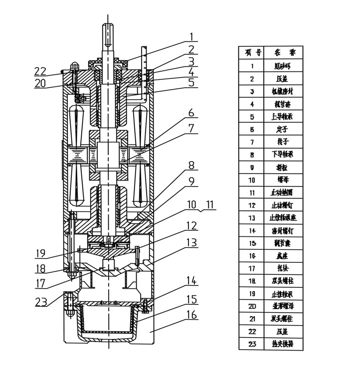
注:高推力型轴承需特殊订货,采用高推力型轴承的电机性能由用户与制造厂协议。适用条件 1、电动机应完全潜入水中立式(或卧式适用),其潜入深度不大于70m,最低位置距海底不少于5m。 2、介质水温不高于30℃。 3、水中固体杂质含量(重量比)不超过0.5%。 4、介质水中不含腐蚀性物质,PH值在7.9-8.6范围内。 5、电机运行时内部应充满洁净的清水(可加防冻液)。 6、功率范围: 11.2kw—180kw(2级转速) 33kw---620kw(4级转速) 适用场合:水井 6”、8” 、10”、12”、16” 或水池、水坑中。 设备特点 ★ 电机防护等级:IPX8,绝缘等级为F; ★ 采用德国引进技术,具有结构简单、运行可靠、使用寿命长、维修方便、力能指标高等优点 ★ YQSH系列井用潜水三项异步电动机为湿式充水密封性结构 ★ 不锈钢304材质(特殊材质316、316L、3861锡青铜须定制) ★ 耐腐蚀,硬度大 ★ 电动机运行性能稳定噪音极小 ★ 用户需要时可以卧式使用(但寿命是立式的60%) 海水潜水电机结构 1、 潜水电机由定子、转子、上下导轴承、下连接法兰、底座、轴伸密封装置等组成。 2、 潜水电机各止口连接处采用密封圈密封;轴伸密封根据水质含砂量多少,选择不同方式的密封装置。(含砂量大于0.01%时采用橡胶骨架油封;含砂量大于0.01-0.5%时采用机械密封) 3、 电动机下部装有橡胶调节囊,其作用为当电机内部热胀冷缩时及电机外部水位高低变化时,用以平衡电机内腔与水的压力。 4、 电动机定子绕组采用耐水绝缘线,有良好的绝缘能力,绕组线与耐水JHS型电缆连接。 5、 潜水电机上、下导轴承座内装有轴瓦,转子下部装有止推轴承。止推轴承由上、下止推轴承及滑板组成,用于承担轴向力。 技术支持 1、保证电机的引出电缆处端电压为380(1±5%)V,频率为50(1±1%)HZ同步转速3000r/min。 YQSHD系列潜水电动机工作的额定电压为460,三相交流为60HZ,同步转速3600r/min。 2、电机的最大运行电流不得大于铭牌上的标定值(即额定电流,配套厂家和用户在选用和调试潜水电泵机组的电源控制设备时,应特别注意); 3、电机应选用合适的控制方式(可实现电机的过载、欠压、断相运行的保护并可根据水位自动控制电泵的起停); 4、电机为连续工作制(S1)。两次起动时间间隔不得小于10分钟; 5、电机应可竖直使用,也可卧式使用(须特殊订制); 6、用于水池或超过规定的井径中时应加装散热器,使电机表面的水流速度达到0.5-1m/s,以保证电机良好的散热。散热器应将电动机和第一,二级泵包括在内。 注:当环境水或电网电压、频率不符合上述规定时,用户可以提出要求,本公司提供订制适用产品。
|